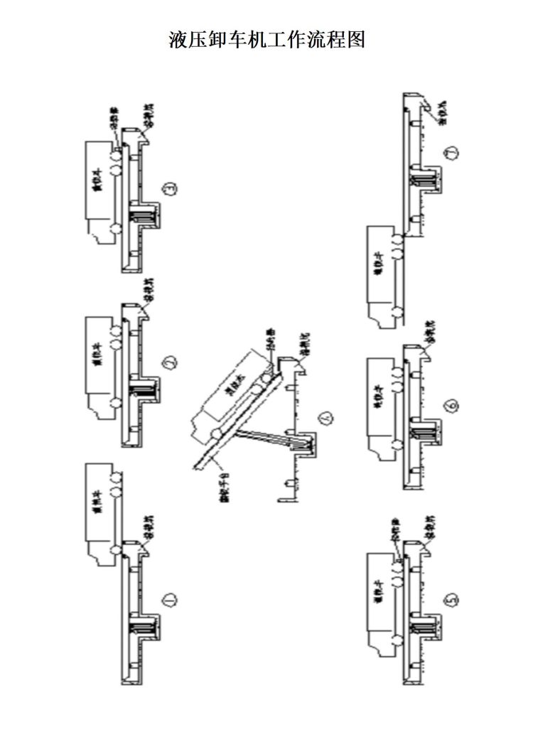
粮食仓储用大吨位汽车散粮侧卸机卸粮用液压翻板
粮食仓储用大吨位汽车散粮侧卸机卸粮用液压翻板
产品价格:¥280000.00(人民币)
  • 规格:红色
  • 发货地:山东德州
  • 品牌:
  • 最小起订量:1
  • 免费会员
    会员级别:试用会员
    认证类型:企业认证
    企业证件:通过认证

    商铺名称:山东鲁北电子衡器有限公司

    联系人:孙经理(小姐)

    联系手机:

    固定电话:

    企业邮箱:928860100@qq.com

    联系地址:德州宁津县开发区宁德路

    邮编:253400

    联系我时,请说是在快能纺机网上看到的,谢谢!

    商品详情
      产品参数
      重量19000kg
      加工定制
      安装形式固定式
      控制形式遥控控制
      颜色红色
      平台尺寸3x17m
      电机功率45KW
      电压v380v
      起升角度0-50°
      动力液压升降
      品牌群峰重工
      产品用途散装物料卸车
      卸车方式后翻式 侧翻式
      液压系统压力≤16PMA
      型号QF-100t












    0571-87774297